广州喝茶工作室,同城空降服务同城附近喝茶网 ,qq官方月抛群入口,全国伴游大圈招聘全球高端私人定制社交平台

首页>社情·民意>你言我语 你言我语

二手车平台隐瞒里程作假上线交易 律师称涉嫌欺诈

2017年03月17日 10:46 | 来源:新京报
分享到: 

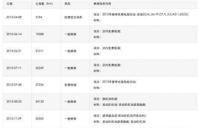
维修记录显示,被检测车辆里程数已达56365公里。

此前,其中一位检测人员表示,车辆检测包括里程表核实,“我们会查询车辆维修保养记录,来核实里程数?!钡档丶觳馐?,两人并未核验。

对于“调表车”情况,3月12日,承诺“158项检测”的优信二手车平台一名客服人员介绍,由于车辆是特殊商品,无法精准了解里程数?!案萜教ǚ窆娑ǎ锍淌辉谖颐堑谋U戏段?,(里程)表上显示多少就是多少?!?/p>

一位在4S店专门从事汽车售后服务的资深人士介绍,大部分二手车平台检测水平还停留在比较粗放的状态,如凭经验判断外观、口头询问等手段。而多数车辆的里程数,仅需通过查询车架号或者调取4S店保养记录即可核实。

编辑:梁霄

关键词:二手车 隐瞒 里程 上线 交易

更多

更多